- 电力辅机产品
- 树脂除氧器
- 真空电化学除氧器
- 解析除氧器
- 反冲洗滤水器
- 手动滤水器
- 电动滤水器
- 全自动滤水器
- 锅炉取样冷却器
- 射水抽气器
- 汽液两相流疏水器
- 热力除氧器
- 真空除氧器
- 二次滤网
- 管式冷油器
- 冷油器
- 中央空调胶球清洗装置
- 冷凝器胶球自动在线清洗装置
- 凝汽器胶球清洗装置
- 胶球清洗装置
- 旋膜除氧器
- 鹤管
- 汽车鹤管
- 火车鹤管
- 底部装卸鹤管
- 顶部装车鹤管
- 顶部卸车鹤管
- 底部卸车鹤管
- 液氨鹤管
- 下装鹤管
- 液化气鹤管
- LNG低温鹤管
- 密闭装车鹤管
- 装车鹤管
- 鹤管型号选择
- 鹤管(陆用流体装卸臂)
- 活动梯
- 活动梯
- 活动梯
- 折叠式活动梯
- 活动梯、钢结构栈桥
- 浮盘
- 内浮盘设计规范/标准
- 标准件系列
- 不锈钢内浮盘
- 组装式内浮盘
- 旋转接头
- 密封圈
- 快速接头
- 旋转接头
- 钢制栈桥(发油台)
- 组装式钢栈桥(发油台)
- 紧急拉断阀
- 紧急拉断阀
- 自动化相关产品
- 人体静电释放仪
鹤管(陆用流体装卸臂)
《液体装卸臂》
鹤管(陆用流体装卸臂)
关键部件旋转接头,采用精密数控机床加工,内藏双滚道支承结构,转动灵活,轻便可靠。外圈选用合金钢、内圈选用不锈钢或衬聚四氟乙烯,保证其能够安全、可靠的用于高温、低温、强腐蚀性的介质。
密封圈采用增强聚四氟乙烯材料,内衬不锈钢弹性支承环、密封经抛光处理,具有优越的自润滑性及超强的耐腐蚀性。
概要说明
用 途:用于栈桥与汽车或火车槽车之间传输液态产品。
装卸方式:A、槽车顶部敞开式装卸
B、槽车顶部密闭式装卸
C、槽车底部装卸
平衡方式:配重平衡、弹簧平衡
驱动方式:手动、气动
管道材质:碳钢、不锈钢、碳钢-聚四氟乙烯衬里。
密封材料:丁腈橡胶、氟橡胶、聚四氟乙烯。
回转接头:密封面堆焊不锈钢。
规 格:标准设计为:DN50、DN80、DN100。其它规格按用户要求设计、制造。
设计压力:PN0.6~PN6.0MPa
设计温度:-196℃~200℃
可选附件:自动真空释放阀、手动真空释放阀、外臂锁紧、内臂复位锁紧、
接油盒、截止阀、液位报警系统、伴热系统。
选用原则:1.按简图选择型号(选择方法见选择示例)。
2.按鹤管设计条件表填写设计条件。
3.选择相应的附件。
4.选择适当的垂管型式、长度C(注明是否液下装车)。


设计制造验收规范/标准
|
-HG/T21608-96 -H/QB1006-93 -GB12459-90 -GB700 -GB3077 -GB8163 -JB755-85 -GB308 -GB3323-87 -DIN8563T1 -DIN8563T2 -DIN8563T3 -GB985-88 -GB/T8923-88 -GB/T13384-92 |
《液体装卸臂》 《流体装载臂》制造部分 《钢制无缝管件》 《碳素结构钢技术条件》 《合金结构钢技术条件》 《输送流体用无缝钢管》 《压力容器锻件技术要求》 《滚动轴承钢球》 《钢熔化焊接接头射线照相和质量分级》 《焊接结构的长度和角度自由公差》 《焊接质量保证,对工厂要求》 《焊接结构的形状和位置自由公差》 《气焊手工电焊及气体保护焊焊缝坡口的基本形式与尺寸》 《涂装前钢材表面锈蚀和除锈等级》 《机电产品包装通用技术条件》 |
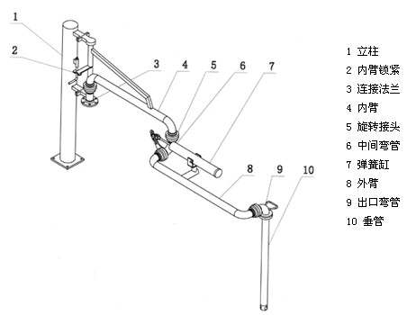
结构组成
适用介质:各种液态和气态产品
公称口径:DN50-DN150
管道材质:碳钢、不锈钢、衬管
设计温度:-196°C-250°C
设计压力:-0.08Mpa-6.0Mpa
工作包络范围
(鹤管)陆用流体装卸臂型号




809827864